INOVA 2020 Categories

3-IN-1 PET COAT

Authors: KANG, YU-JUI; KANG, PO-CHUN; WU, MIN-CHE

Company/Faculty/School: KORRNELL ACADEMY

Country: Taiwan

e-mail: eddie@wiipa.org.tw

web page: www.wiipa.org.tw

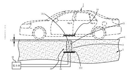
WIRELESS CHARGING ROAD STRUCTURE

Authors: YEH, CHUNG-WEI; CHIANG, CHIH-HUANG; CHEN, YANG-CHENG-KUANG; HU, ZHI-CHENG; TSENG, CHIH WEN

Company/Faculty/School: AIR FORCE INSTITUTE OF TECHNOLOGY & UNION STEEL DEVELOPMENT CORP

Country: Taiwan

e-mail: eddie@wiipa.org.tw

web page: www.wiipa.org.tw

WATER BOTTLE SLEEVE WITH MEDICINE BOX

Authors: MENG-SHU, TSAI; FU- RONG, ZHUANG; SIH-SIAN, LI; PEI-HSIEN, WU; YI-XUAN, SHI

Company/Faculty/School: JEN-TEH JUNIOR COLLEGE OF MEDICINE, NURSING AND MANAGEMENT

Country: Taiwan

e-mail: eddie@wiipa.org.tw

web page: www.wiipa.org.tw

SUN PROTECTION SKIRT PANTS

Authors: CHUN-TE, LEE; CHING-YUN, HSU; PING-TSAN, HO; YU-HSIN, LEE; CHIEN-HENG, LIN

Company/Faculty/School: CHENG SHIU UNIVERSITY

Country: Taiwan

e-mail: eddie@wiipa.org.tw

web page: www.wiipa.org.tw

SOUNDPROOF WALL TILES

Authors: ZHENG CHUANXI

Company/Faculty/School: YOUNG AN MINERAL TECH CO., LTD

Country: Taiwan

e-mail: eddie@wiipa.org.tw

web page: www.wiipa.org.tw

Cost rationalizing innovation: billing unit (one day) adjustment

Author: DAVOR TURKOVIĆ

Company: INA-industrija nafte d.d.

e-mail: ina@ina.hr; davor.turkovic@ina.hr

web page: www.ina.hr

SMART SLIPPERS

Authors: HUNG-JU, TSAI; HENG-YU, KUO; PIN-YU, HSIAO; YA-HSUEH, CHANG; ZONG-HUA, YE

Company/Faculty/School: JEN-TEH JUNIOR COLLEGE OF MEDICINE, NURSING AND MANAGEMENT

Country: Taiwan

e-mail: eddie@wiipa.org.tw

web page: www.wiipa.org.tw

EXCEL TOOL FOR RETAIL NETWORK ORGANISATION

Author: ROBERT ROSANDIĆ

Company: INA-Industrija nafte, d.d.

e-mail: ina@ina.hr; robert.rosandic@ina.hr

web page: www.ina.hr

SMART COOL MOUSE

Authors: LIN WEN CHIEH; HU YU SONG; LIU CHENG TING; XIN WU ROTARY CLUB; SEKIGUCHI KAZUKI

Company/Faculty/School: KAO YUAN UNIVERSITY

Country: Taiwan

e-mail: eddie@wiipa.org.tw

web page: www.wiipa.org.tw